recent
أخبار ساخنة

سوني تسجل براءة اختراع جديدة لتقديم تقنية تتبع الشعاع Ray Tracing بمستوى أفضل على جهاز PS5 !

 سوني تسجل براءة اختراع جديدة لتقديم تقنية تتبع الشعاع Ray Tracing بمستوى أفضل على جهاز PS5 !

 

سوني تسجل براءة اختراع جديدة لتقديم تقنية تتبع الشعاع Ray Tracing بمستوى أفضل على جهاز PS5 !

مع اطلاق أجهزة الجيل الحالي إكسبوكس سيريز و بلايستيشن 5 فقد كانت هذه الأخيرة تعد بتوفير المزيد من الخصائص والقدرات التقنية المثيرة التي وعدت باستغلالها .


حيث يظل من أبرزها تكنولوجيا تتبع الشعاع Ray Tracing على جهاز بلايستيشن 5 مثلا التي جاءت لتقديم الإضافية بالنسبة للألعاب و التي تتيح أمام المطورين إلى التحكم من مصدر الإضاءة و الظلال عن طريق محاكاة حقيقية .


لكن هذه التكنولوجيا و بما أنها جديدة فقد كانت مكلفة من حيث الموارد المخصصة لها على معالج الرسومات في أجهزة الألعاب المنزلية ، التي على الرغم من ذلك قدمت هذه التكنولوجيا إلا أن استغلالها على نحو جيد يظل أمر معقد و صعب المنال خلال العناوين المقبلة وهو ما تتفاعل معه سوني خلال الفترة الماضية .


عن طريق ما جرى مشاركته معنا من طرف موقع PSU الذي كشف تفاصيل براءة اختراع جديدة من قطاع بلايستيشن تجاه جهاز بلايستيشن 5 الجيل الحالي التي تم الكشف عنها من طرف المهندس السيد Mark Cerny .

سوني تسجل براءة اختراع جديدة لتقديم تقنية تتبع الشعاع Ray Tracing بمستوى أفضل على جهاز PS5 !

سوني تسجل براءة اختراع جديدة لتقديم تقنية تتبع الشعاع Ray Tracing بمستوى أفضل على جهاز PS5 !

سوني تسجل براءة اختراع جديدة لتقديم تقنية تتبع الشعاع Ray Tracing بمستوى أفضل على جهاز PS5 !

سوني تسجل براءة اختراع جديدة لتقديم تقنية تتبع الشعاع Ray Tracing بمستوى أفضل على جهاز PS5 !

الذي قدم أو صمم أجهزة بلايستيشن 4 و بلايستيشن 5 معا عن طريق تصميم كل كبيرة وصغيرة على مستوى هندسة عتاد الجهاز ، و يمكن القول أنه توفق في جميع الخطوات حتى تلك على جهاز بلايستيشن 5 الذي بالرغم من كون قوة معالجة الرسومات فيه أقل من تلك على جهاز اكسبوكس سيريز إكس منصة مايكروسوفت الرئيسية الجيل الحالي .


إلا أنه يقدم أداء أحيانا افضل و هو ما ترك أمام المهندس Mark Cerny عبارات الإشادة من طرف اللاعبين و أكيد يخطط لمستقبل الجهاز إنطلاقا من براءة اختراع جديدة تم الكشف عنها .


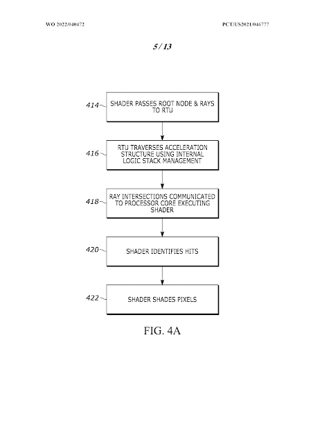
حيث يتطرق فيها إلى كيفية استغلال تقنية تتبع الشعاع Ray Tracing في جهاز بلايستيشن 5 بشكل أفضل و بميزات أعمق دون استهلاك قدرات معالج الرسومات في الجهاز بشكل يستنزف كافة الطاقة .


و هو ما يظل رهين بتطبيق هذا الأمر من عدمه حيث تركز براءة اختراع هاته من المهندس على تعديلات برمجية فيما يتعلق بأداء تقنية تتبع الشعاع Ray Tracing حتى يتم استغلالها أكثر في العناوين الحصرية الصخمة القادمة على جهاز بلايستيشن 5 ، لكن لا ندري هل سيتم الاعتماد عليها فعليا ام أنها مثل عديد براءات الاختراع السابقة التي يكون مصيرها فقط الارشيف.

google-playkhamsatmostaqltradent